Produs
Senzori de poluare a aerului
HCD6820 Monitor poluant aer
(T {{0}} RH {{1}} P {{2}} WD {{3}} WDIR {{4}} Rianfall {{5}} PM2.5 / 10 {{9}} +CO+ ASA DE2+ NU2+O3)

PREZENTARE GENERALĂ
HCD6820 este proiectat și produs de Handan Yunnong Intelligent Agricultural Technology Co., Ltd. Realizează inovator PM2.5 .5 PM10 、 CO 、 SO2,NU2、O3、 T 、 RH 、 W 、 WDIR 、 P și precipitații printr-o structură extrem de integrată, care poate realiza monitorizarea online continuă 24 de ore a parametrilor meteorologici în aer liber și poate transmite parametrii către EPA. În plus, se poate adăuga și pentru a măsura H₂S, poluanții organici volatili, particulele în suspensie totale și alți senzori meteorologici (viteza vântului, direcția vântului, presiunea atmosferică, precipitațiile, radiația soarelui) Ieșirea este RS485 (protocolul MODBUS). monitorul poate fi utilizat în monitorizarea și controlul mediului de rețea urbană, luminile stradale inteligente, punctele pitorești, fabricile sau minele, șantierele (monitorizarea prafului de pe șantier), drumurile urbane, autostrăzile, locurile publice și alte locuri legate de monitorizarea calității aerului.
CERERE
HCD6820 poate fi utilizat pe scară largă în monitorizarea mediului urban, generarea energiei eoliene, monitorizarea meteorologică, poduri, tuneluri, nave, aeroporturi de aviație, meteorologie agricolă, meteorologie de conservare a apei, mediu energetic, monitorizare meteorologică pe autostradă și alte domenii. este necesară.

CARACTERISTICI
1 monitoring Monitorizare configurare standard PM2.5 、 PM10 、 CO 、 SO2,NU2、O3、 T 、 RH 、 W 、 WDIR 、 P și precipitații (MODBUS) ;
2, de înaltă precizie, performanță fiabilă, potrivită pentru mediul în aer liber dur;
3 collection Colectarea parametrilor, colector de date wireless opțional, platformă de rețea de încărcare automată a datelor, vizualizare date în timp real pentru clientul telefonului mobil ;
4 monitoring Monitorizare în timp real a datelor meteorologice de mediu, cost redus, adecvate pentru distribuția rețelei ;
5 size Dimensiune mică, design modular, aspect flexibil ;
6 position Poziționare GPS opțională, funcție de urmărire a dispozitivului ;
7, achiziția de date adoptă un cip de procesare pe 32 de biți de mare viteză, stabil și anti-interferențe.
SPECIFICAȚIE TEHNICĂ
Obiect Measture | Principiu | Gamă | Rezoluţie | Precizie |
Temperatura atmosferică | MEMS | -40-60℃ | 0.1℃ | ±0.3℃(25℃) |
Umiditatea atmosferică | MEMS | 0-100% HR | 0.1% | ± 3% HR |
Presiune atmosferică | MEMS | 300-1100hpa | 0,1 hpa | ± 0,5 hpa (0-30 ℃) |
PM2.5 | Mod laser | 0-1000ug / m³ | 1ug / m³ | ± 10% (măsurători) |
PM10 | Mod laser | 0-1000ug / m³ | 1ug / m³ | ± 10% (măsurători) |
CO | Principiul electrochimic | 0-12,5ppm | ≤10ppb | ±1.5%F.S |
ASA DE2 | Principiul electrochimic | 0-2000ppb | ≤10ppb | ±1.5%F.S |
NU2 | Principiul electrochimic | 0-2000ppb | ≤10ppb | ±1.5%F.S |
O3 | Principiul electrochimic | 0-2000ppb | ≤10ppb | ±1.5%F.S |
Viteza vântului | Cu ultrasunete | 0-60m/s | 0.01m/s | (0-30m / s) ± 0.3m / s sau ± 3% (30-60m / s) ± 5% |
Directia vantului | Cu ultrasunete | 0-360° | 0.1° | ±2° |
Rianfall | Fotologie | 0-200mm / h | 0,2 mm | Eroare<> |
Opțiune | H2S, zgomot, radiații solare, indicele AQI, indicele radiației ultraviolete, nivelul de zgomot, etc. | |||
Livra | 12-24VDC | |||
Ieșire | RS485 (Modbus) | |||
formă fixă | Manșon fix, flanșă fixată | |||
Consum de energie | GG lt; 1.2w@12V | |||
Protecție la intrare | IP65 | |||
Mediu de lucru | Temperatură: -40-70 ℃ ; Umiditate: 5-90% RH | |||
Adăugați o funcție | ● Colector de date (port net, GPRS) | |||
Material de bază | ASA + materiale plastice de inginerie | |||
Cadru de montare | 1,5m, 3m flanșă, 1,8m trepied | |||
GPS | Urmărirea și poziționarea dispozitivului | |||
Eliberarea datelor | PC, aplicație telefonică, LED, afișaj TV LCD etc. | |||
NOTĂ:
Cele patru gaze poluante pot fi convertite în ug / m³. Coeficientul de conversie este următorul: coeficientul N=(ug / m³) / PPB
Articol | NU2 | ASA DE2 | CO | O3 |
(Factor) N | 2.054 | 2.857 | 1.25 | 2.143 |
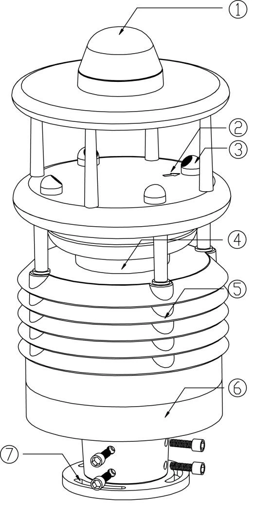
![]() | 1. Senzor de precipitații (optică) 2. Săgeți pentru a indica nordul 3. Sonda cu ultrasunete 4. Circuite de control 5. adăpost termometru (temperatura, umiditatea, poziția de monitorizare a presiunii aerului) 6.PM2.5 、 PM10 、 CO 、 NR2,ASA DE2、O3 7. Partea inferioară fixată cu flanșă ※ Acest produs poate fi echipat cu busolă electronică. |
Tag-uri populare: senzori de poluare a aerului, China, producatori, furnizori, fabrica, pret, cost, cel mai bun, de vanzare













